符合载荷要求的结构设计准则
准 则
改进前的设计
改进后的设计
1.铸钢受压应力比受拉应力或扭转应力好


2.由于纵向弯曲的原因,钢或塑料受拉比受压好


3.力求力流传递路径合理。图a力流在A处急剧转向流经齿轮,致使A处应力很大,产生较大应力集中;图a力流过渡平缓,应力分布较均匀,不易出现应力集中


4.力求力流传递路线长短合理
(1)图a为普通轧机,它有一个高大的工作机架。图a为无机架轧机,由于没有机架,其应力回线长度比普通轧机大大缩短,这样,整个结构尺寸和零部件尺寸均大大缩小,变形小,刚度增大,提高了轧材轧制精度,节省了材料,因此而得名短应力线轧机
(2)图b为使力流线长更为合理的实例。这是因为在利用轴的扭转变形部分地改善因轴的弯曲变形而产生的轮齿齿面上载荷不均的程度方面,图b的齿轮布置优于图b


5.力求载荷分布均匀化
(1)增加结构弹性变形。图a各圈螺纹受力不均,第1圈螺牙受力可为第7圈螺牙受力的十几倍。图b、c、d用降低螺母局部刚度,以增加其弹性变形来达到均载的目的


(2)设置载荷均载装置
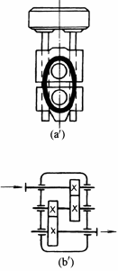
行星轮系由于制造误差和工作时各构件变形,致使各行星轮间受力不均。为使各行星轮间载荷分配均匀,采用了均载装置(弹性轴,弹性销轴),如图所求。它是通过弹性构件的弹性变形来达到各行星轮均载目的的(图中仅绘出一个行星轮)

1,3—中心轮;2—行星轮;4—弹性销;5—弹性销轴
图c为某星型高速大马力柴油机曲轴自由端弹性联接结构,曲轴通过弹性轴1驱动辅助机组,通过空心弹性轴2驱动凸轮传动机构。弹性轴两端采用弹性卡圈定位,这种定位,结构使用较多

1—弹性轴;2—空心弹性轴;3—凸轮轴传动机构的齿轮;4—曲轴;
5—辅助机组传动机构的齿轮;6—定位用弹性卡圈
6.借助力的平衡设计部分地或全部地将某些零部件由于本身结构而伴生的无用力平衡掉
(1)采用对称结构设计。如图a人字齿轮传动,可全部抵消;图b二级圆柱斜齿减速器,可部分抵消,从而减轻该轴及轴承支承上的载荷
(2)设置平衡装置。图c为齿轮泵简图,为平衡液压径向力,在泵壳或侧板上开有液压力平衡槽,将高压油引入低压氏,同时,又将低压油与高压区连通,这样两个齿轮轴上的载荷由于液压力被平衡掉而仅是齿轮啮合力,减轻了轴承上的作用载荷

7.合理分配载荷。如图采用了卸载结构设计,使轴承座2和输出轴1悬臂段分别只承受单一的径向力和传递单一扭矩,从而大大改善了输出轴的受力条件和蜗轮副的啮合条件

1—输出轴;2—轴承座
8.避免因离心力而损害收缩接合(过盈联接)


9.避免由于变形产生的内压力造成不密封


10.通过增大弹簧长度减小弯曲应力(软弹簧特性)


11.力求具有恒定强度(应力)的梁


12.避免零件高应力部位的切口


13在板带和缆索上通过夹紧部位的阻尼保持小的弯曲交变应力


14.利用压力自适性。如图是中部凸起的平带轮,目的是防止平带从带轮轮面脱落下来。平带运动时,一旦出现跑偏,则借助摩擦力将平带拉回到中央,以保持带与轮面的正常接触

15.利用速度自适应。如图为汽车后轴差速器传动简图。通过差速器既可实现将驱动轴的转动转化为两个后轮轴的同步转动(汽车直行),同时又可以实现将驱动轴的转动转化成两个后轮的两个不同的转速(汽车转弯行驶,且随弯道曲率半径不同而任意组合),实现汽车两后轮轴转动速度的自适应

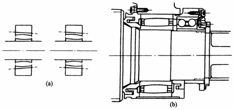
16.改用新轴承,提高可靠性CARB轴承是一种综合了短圆柱滚子轴承、球面滚子轴承和滚针轴承的优点,克服了它们的缺点的一种新型轴承。它可以调节变形、不同心和轴向位移,如图a,b。因此,其承载能力比传统轴承高。它用于轧机定位端(图b),在轧制材料进入辊隙,轴承受到极大撞击时,可以明显降低振动幅度,提高使用寿命

17.合理地合并为整体。图a所示的齿轮传动,齿轮作用力通过各自的轴承座传给联接螺栓。如果将两个轴承座合并为一个整体,如图b,则整体轴承座承受大部分作用力而且是内力,螺栓受力就小多了


18.外力尽量作用在形心位置,避免产生或减小附加力矩。图a所示结构油缸安放位置,油缸驱动力P对立柱将产生附加弯矩(如图b),改成图c,使截面形心外移,可减小附加力矩,但制作易使立柱发生挠曲。如将油缸中心线安放在立柱的对称中心线上,则使立柱受力得到很大改善。但因油缸外移,横梁跨度加大,对横梁的强度和刚度都不利,故应综合分析对比,求得整机结构设计的合理方案


消息,3 月 11 日,Binance 美国子公司任命资深合规人士 Stephen Gregory 为首席执行官,已于 3 月...
2 “新卡尔达诺”午夜版成功在世界最大的Cardano 的隐私保护型合作伙伴链 Midnight 的原生代币 NIGHT 已正式上线币安。NIGHT 于 3 月 11 日开始...
3 MetaMask集成Uniswap API,支持原生兑换功能消息,MetaMask 已将 Uniswap API 集成为其兑换服务提供方之一,用户可直接接入 Uniswap v2、v3、v4...
4 经济学家:美国通胀数据暂未加速,但将消息,纽约 Spartan Capital Securities 首席市场经济学家 Peter Cardillo 就美国 CPI 数据表示,从某种意...
5 WEEX 将上架 Web∣♦️Kvoucher ⟩ (WEBK)!Web∣Kvoucher 是一种代币,它被描述为结合了稳定币 + Web3.0 + ASI 级超级代理,旨在赋能价值创造...
6 XRP价格面临布林带挤压,加密货币市场严受整体市场疲软影响,XRP价格已跌至1.37美元。但分析师阿里马丁内斯指出,1.38美元附近的布林...
7 GameFi 板块普涨,PIXEL 24 小时涨逾 192%消息,Bitget 行情显示,GameFi 板块普涨,其中,PIXEL 暂报 0.01521 USDT,24 小时涨逾 192%;Portal 暂...
8 BTC展现韧性,长期持有者积累,市场进入消息,据吴说区块链发推称:QCP 分析称,BTC 在地缘政治冲击后展现韧性,价格回升至 7 万美元...
9 分析:BTC 正在接近相对低估区域消息,CryptoQuant 分析师 Dan Coinvestor 表示,基于历史数据的解释表明,市场已进入相当接近低估...
10 XRP 在 Smart Money 关注的图表上跃升 253 位据Santiment称,随着比特币价格突破7万美元,市场情绪已重回FOMO的范畴。瑞波币、卡尔达诺和以...
成都来彰科技 蜀ICP备2025134723号-1
资讯来源互联网,如有版权问题请联系管理员删除。