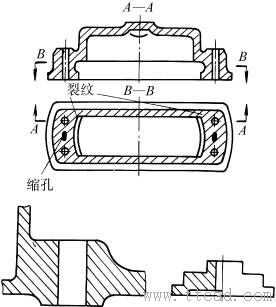
铸造件结构设计:壁厚均匀 图 例 说 明 
不合理

合理 改进后壁厚均匀,避免了薄壁与厚壁的连接裂纹和厚壁的缩孔 
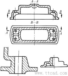
不合理

合理
改进后由加强肋代替厚壁,壁厚均匀 
不合理

合理 改进后利用嵌件使壁厚均匀;改进后壁厚均匀 
不合理

合理 改进后外形减小,壁厚均匀;改进后外形不变,壁厚均匀 
不合理 合理 改进后壁厚均匀,增加配合凸台T
DogeOS 旨在通过引入类似以太坊的功能和收益机会,拓展狗狗币在支付之外的用途,同时保留其...
2 摩根大通与摩根士丹利联手,将Core Scie比特币矿商Core Scientific从摩根大通获得5亿美元的额外信贷额度,加上摩根士丹利的承诺,其...
3 美联储理事米兰:如果出现(通胀)第二消息,美联储理事米兰:如果出现第二轮效应和工资上涨的情况,可能需要加息,但目前不认...
4 Origins Network完成800万美元战略融资,Ani消息,Origins Network 宣布完成 800 万美元战略融资,由 Animoca Brands、TBV、Candaq FinTech Group、Castr...
5 比特币突破7.1万美元消息,据BitcoinTreasuries发推称:比特币价格突破 7.1 万美元大关,市场情绪高涨。...
6 尽管石油冲击担忧持续存在,Polymarket交易链上数据显示,十个此前不活跃的钱包押注16万美元,押注伊朗可能在3月底停火,目标是获得...
7 美议员提案禁体育预测市场消息,据Coin Bureau发推称:美国议员将提出法案禁止体育赛事预测市场投注,参议员亚当希夫称...
8 首发上线:MEXC 将于创新区上线 Backpack消息,MEXC交易所宣布其创新区即将上线Backpack代币,并开放BP/USDT及BP/USDC交易对。BP/USDT交易将...
9 Capital B 增持 44 枚比特币,总持有量升至消息,法国上市公司 Capital B 增持 44 枚比特币,总持有量升至 2888 枚。...
10 Saylor一季度增持超10万枚比特币消息,据BitcoinTreasuries发推称:微策略公司计划在2026年第一季度增持超过10万枚比特币,这将是...
成都来彰科技 蜀ICP备2025134723号-1
资讯来源互联网,如有版权问题请联系管理员删除。