切削件结构设计:合理选择基准
图 例 说 明 
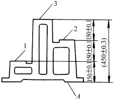
不合理

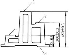
合理 改进后,设计基准和工艺基准统一到A面,平面1、2精度可降低,便于安装和测量 
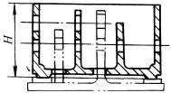
不合理 合理 改进后,镗杆支承吊架装在箱体下表面与装配基准重合,尺寸H要求降低
消息,据Coinbase发推称:Base 网络路线图新增资产 Checkmate 和 Sign ,合约地址已公布。交易启动...
2 Coinbase机构向未知钱包转移5236.68万美元消息,据Whale Alert发推称:Coinbase Institutional 向未知钱包转移 753 枚 BTC,价值约 5236.68 万美元。...
3 一键掌控你的资金:账单拆分和 Krak 的全Krak 重新设计了其应用程序主屏幕,将卡片管理、余额、金库和收付款功能整合到一个视图中,...
4 Binance合约将上线多个U本位股票永续合约消息,3 月 25 日,据官方公告,Binance 合约平台将于以下时间上线:METAUSDT 股票永续合约,最高...
5 Circle盘中大跌15.54%消息,据吴说区块链发推称:稳定币发行商 Circle股价盘中大跌 15.54%,最低触及 103.3 美元,现...
6 Coinbase:服务器钱包现已在 Solana 开发者平消息,Coinbase 发推表示其服务器钱包现已在 Solana 开发者平台上线首日即开放使用。...
7 YZi Labs 推出 Atlas Scout 计划,设立 100 万美消息,YZi Labs 发推宣布推出 Atlas Scout 计划,将招募 5 至 10 名全球高校学生组建学生管理的投资...
8 今日股市:标普500指数和道琼斯指数在上周二早盘,美国股指期货小幅下跌,此前受美伊紧张局势缓和预期提振,市场出现大幅上涨。...
9 Polygon稳定币月增2.2亿美元消息,据Sandeep CEO, Polygon Foundation 发推称:Polygon 稳定币供应量一个月内增长 2.2 亿美元,持续...
10 MEXC在2025年TokenInsight颁奖典礼上荣获“增MEXC在2025年TokenInsight大奖中荣获增长最快交易所称号,并在CryptoQuant 2025年度交易所领导者报告...
成都来彰科技 蜀ICP备2025134723号-1
资讯来源互联网,如有版权问题请联系管理员删除。