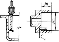
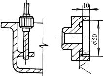
切削件结构设计:便于刀具引入
图 例 说明 
不合理 合理 改进后,孔远离侧壁,不需要专用钻头;改进后,刀具易于接近凹槽加工面,不需要专用刀具 
不合理 合理 改进后,设计了工艺孔或工艺槽,刀具易于接近钻孔面;改进后,设计了工艺孔或凸缘结构,刀具易于接近钻孔面
消息,据BitcoinTreasuries发推称:比特币价格突破 7.2 万美元大关,市场热度持续攀升。...
2 Polygon链上稳定币总市值创36亿美元新高消息,据Sandeep CEO, Polygon Foundation 发推称:Polygon 网络上的稳定币总供应量创下历史新高,达到...
3 伊朗外长:霍尔木兹海峡的安全通行可以消息,4 月 10 日,伊朗外长阿拉格齐表示,霍尔木兹海峡的安全通行可以通过指导方针实现。...
4 Galaxy Digital Inc.(GLXY) 日内上涨 +10.36%,消息,ME News 消息,4 月 9 日,据 CoinFound 加密概念股数据显示,Galaxy Digital Inc. 股价现报 20.6...
5 美 SEC 主席:已准备好在国会采取行动后消息,美国证券交易委员会主席 Paul Atkins 发文表示,新政 Project Crypto 的设计目标是,一旦国会...
6 稳定币外汇在拉美和东非接近传统银行渠支付基础设施公司 Borderless 数据显示,稳定币外汇兑换在拉丁美洲和东非关键走廊正逐步与传...
7 GameSquare Holdings, Inc.(GAME) 日内上涨 +1消息,ME News 消息,4 月 9 日,据 CoinFound 加密概念股数据显示,GameSquare Holdings, Inc. 股价现报...
8 麻吉大哥HYPE多单已全部平仓,以太坊多单消息,数据显示,麻吉大哥黄立成最新开设的 HYPE 多单已于 20 分钟前全部平仓,目前他仍在持...
9 OpenAI:暂停英国星际之门(Stargate)项目4月9日消息,OpenAI:暂停英国星际之门项目,将在合适的条件下推进英国计划。...
10 美国PCE数据出炉,核心通胀略低于预期消息,据Coin Bureau发推称:美国最新个人消费支出价格指数公布:整体PCE同比上涨2.8%,符合预...
成都来彰科技 蜀ICP备2025134723号-1
资讯来源互联网,如有版权问题请联系管理员删除。