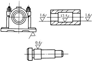
切削件结构设计:减少加工面积
图 例 说明 
不合理

合理 改进后,加工表面适中,刚性良好;改进后,精车面积减少
消息,据吴说区块链发推称:一位独立矿工以约 70 TH/s 的算力成功挖出比特币区块 944306,获得...
2 Saylor策略今日购入2645枚BTC消息,据Bitcoin For Corporations发推称:迈克尔塞勒的策略今日通过STRC购入约2645枚比特币,购入量...
3 预测市场为何蓬勃发展消息,据彭博社发推称:预测市场正迎来繁荣期,这得益于其能有效聚合群体智慧,在选举、...
4 比特币突破7.2万美元消息,据BitcoinTreasuries发推称:比特币价格突破 7.2 万美元大关,市场热度持续攀升。...
5 Polygon链上稳定币总市值创36亿美元新高消息,据Sandeep CEO, Polygon Foundation 发推称:Polygon 网络上的稳定币总供应量创下历史新高,达到...
6 伊朗外长:霍尔木兹海峡的安全通行可以消息,4 月 10 日,伊朗外长阿拉格齐表示,霍尔木兹海峡的安全通行可以通过指导方针实现。...
7 Galaxy Digital Inc.(GLXY) 日内上涨 +10.36%,消息,ME News 消息,4 月 9 日,据 CoinFound 加密概念股数据显示,Galaxy Digital Inc. 股价现报 20.6...
8 美 SEC 主席:已准备好在国会采取行动后消息,美国证券交易委员会主席 Paul Atkins 发文表示,新政 Project Crypto 的设计目标是,一旦国会...
9 稳定币外汇在拉美和东非接近传统银行渠支付基础设施公司 Borderless 数据显示,稳定币外汇兑换在拉丁美洲和东非关键走廊正逐步与传...
10 GameSquare Holdings, Inc.(GAME) 日内上涨 +1消息,ME News 消息,4 月 9 日,据 CoinFound 加密概念股数据显示,GameSquare Holdings, Inc. 股价现报...
成都来彰科技 蜀ICP备2025134723号-1
资讯来源互联网,如有版权问题请联系管理员删除。