当前位置:主页 > 快讯 >

轴上零件轴向与周向定位与固定

时间:2020-10-23 17:29:30

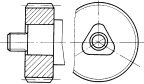
  轴上零件的周向定位与固定定位与固定方法 简图 特点与应用 键 轴上零件轴向与周向定位与固定 平键对中性好,可用于较高精度、高转速及冲击或变载荷作用的场合。楔键不适于要求严格对中、有冲击载荷及高速回转的场合,但能承受单向轴向力 花键 轴上零件轴向与周向定位与固定 承载能力高,对中性和导向性好,但制造困难,成本高 过盈配合 轴上零件轴向与周向定位与固定 结构简单,对中性好,承载能力高,同时起轴向固定作用,不适于经常拆卸的场合。常与平键联合使用,以承受大的循环、振动和冲击载荷 非圆成形面 轴上零件轴向与周向定位与固定 成形联接,可承受大载荷,对中性好,但制造困难;方形联接,多用于轴端和手动机构中,对中性差 胀套 轴上零件轴向与周向定位与固定 对中性好,压紧力可以调整,多次拆卸仍能保持良好的配合性质,但结构复杂 轴上零件的轴向定位与固定 定位与固定方法 简 图 特点与应用 轴肩、轴环 轴上零件轴向与周向定位与固定 结构简单、可靠,能承受较大的轴向力。一般取a=0.07d+(1~2)mm,b≥1.4a,r<c,r<R,a>c。安装滚动轴承的轴肩其a值由滚动轴承安装要求确定 圆螺母 轴上零件轴向与周向定位与固定 固定可靠,能承受较大的轴向力。需要防松措施,如图中的双螺母、止动垫圈。圆螺母、止动垫圈的结构尺寸见GB/T810、GB/T812及GB/T858。结构较复杂。螺纹位于承载轴段时,会削弱轴的疲劳强度 圆锥面 轴上零件轴向与周向定位与固定 轴和轮毂间无径向间隙,装拆较方便,能承受冲击载荷,多用于轴端零件的定位与固定。锥面加工较麻烦。同轴度高但轴向定位不准确。高速轻载及同轴度要求高时可以不用键,圆锥形轴伸的结构尺寸见GB/T1570 弹性挡圈 轴上零件轴向与周向定位与固定 结构简单、紧凑,只能承受较小的轴向力,可靠性差。挡圈位于承载轴段时,轴的强度削弱较严重。轴用弹性挡圈及轴槽的结构尺寸见GB/T894.1、GB/T894.2 轴端挡圈 轴上零件轴向与周向定位与固定 适于轴端需件的定位和固定。可承受剧烈的振动和冲击载荷,需采取防松措施,如图中的防松结构。轴端挡圈的结构尺寸见GB/T891及GB/T892 锁紧挡圈 轴上零件轴向与周向定位与固定 结构简单,不能承受大的轴向力。有冲击、振动的场合,应采取防松措施。锁紧挡圈的结构尺寸见GB/T883、GB/T884、GB/T885 套 筒 轴上零件轴向与周向定位与固定 结构简单、可靠。适于轴上两零件间的定位和固定,轴上不需开槽、钻孔。可将零件的轴向力不经轴而直接传到轴承上 轴端挡板 轴上零件轴向与周向定位与固定 适于心轴的轴端定位和固定,只能承受小的轴向力

   轴上零件轴向与周向同时定位与固定

   紧定螺钉 轴上零件轴向与周向定位与固定 适于轴向力很小、转速很低或仅为防止偶然轴向滑动的场合。同时可起周向和轴向定位和固定的作用。锥端紧定螺钉的结构尺寸见GB/T71 销 轴上零件轴向与周向定位与固定 结构简单,用于受力不大,同时可起周向和轴向定位和固定作用

热点推荐
1 特朗普:密切关注化肥价格,绝不容忍哄

消息,4 月 11 日,特朗普在 Truth 平台发文表示,「在伊朗争取自由的斗争中,我密切关注着化...

2 「反恐精英:FUT电子竞技vs TheMongolz(BO

消息,4 月 11 日, 预测市场数据显示,「反恐精英:FUT电子竞技vs TheMongolz- PGL布加勒斯特季后...

3 小市值山寨频繁上演「狂飙」式过山车,

消息,近期,在美伊局势缓解、比特币高位横盘的背景下,一系列小市值山寨币频繁上演「狂...

4 某鲸鱼于 3 小时前从币安提取 265,132 枚

消息,据 Onchain Lens 监测,某鲸鱼 3 小时前从币安提取 265,132 枚 LINK,价值 238 万美元。...

5 美媒:万斯在促成美伊谈判方面作用关键

据一位巴基斯坦高级消息人士透露,美国副总统万斯在促成将在巴基斯坦伊斯兰堡启动的美伊...

6 灰度更新拟考虑纳入产品代币名单,新增

消息,Grayscale在官网发文表示,已更新拟考虑纳入未来投资产品的加密资产名单。根据最新列...

7 Selini Capital 24小时内从币安购入2000万枚

消息,据Onchain Lens发推称:Selini Capital 在过去 24 小时内从币安累计积累了价值 564 万美元的 ...

8 Ramp Labs提出多智能体记忆共享新方案,

消息,4 月 11 日,AI 基础设施公司 Ramp Labs 发布研究成果「Latent Briefing」,通过直接压缩大模型...

9 Arthur Hayes:期待“大规模危机”触发美联

消息,BitMEX 联合创始人 Arthur Hayes 在 X 平台发文表示,期待大规模危机,这样就能促使美联储...

10 Anthropic推出Word文档AI助手,支持三款Off

消息,4 月 11 日,Anthropic 旗下 AI 产品 Claude 正式推出 Word 文档插件测试版。用户可直接在侧边...

成都来彰科技 蜀ICP备2025134723号-1

资讯来源互联网,如有版权问题请联系管理员删除。