切削件结构设计:采用组合部件
图 例 说明 
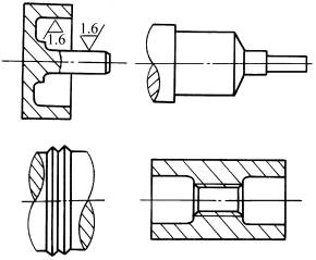
不合理

合理 改进后,零件结构简单化,加工难度和加工量均减少
不合理
合理 改进后,内孔加工难度降低;改进后,球面加工难度降低
消息,据彭博社发推称:华尔街策略师预计,美联储将采取缓慢而谨慎的方式,逐步缩减旨在...
2 Aave转出1.16亿USDT至未知钱包消息,据Whale Alert发推称:1.16 亿枚 USDT 从 Aave 协议转入未知钱包,价值约 1.16 亿美元。...
3 Sentio 代币 ST 将于 4 月 15 日在币安 Alpha4月13日消息, 据币安公告, Sentio 代币将于 4 月 15 日 18:00 在 Binance Alpha 上线并开启流通。参与...
4 比特币分析师预测三种突破情景消息,据Michal van de Poppe发推称:分析师预测比特币可能迎来上涨突破,三种情景概率分别为:...
5 伊朗向国际海事组织提交法律文件,否认消息,伊朗在国际海事组织法律委员会会议上提交一份法律文件,就此前理事会特别会议相关...
6 英伟达GPU租金两月涨48%,AI行业算力短缺消息,4 月 13 日,AI 行业正经历全面的算力供给危机,GPU 租金飙升、服务频繁宕机、产品被砍...
7 三大交易所打出组合拳,为“耐心资本”4月10日,上海证券交易所、深圳证券交易所、北京证券交易所分别就修订交易规则公开征求意...
8 美股明星科技股盘前走软,美光科技 (M消息,美股盘前,明星科技股走软,美光科技 跌 1.7%、博通 跌 1.5%、AMD 和英伟达 跌 1.4%。...
9 月内五次做空巨鲸开立高杠杆BTC空单,规消息,据HyperInsight监测,过去半小时内,0x004开头巨鲸以33倍杠杆开立BTC空单,均价70,745美元,...
10 TON AI Builders Day 暨 Telegram AI 生态共创者峰消息,4 月 13 日,据官方消息,「TON AI Builders Day 暨 Telegram AI 生态共创者峰会」将于 2026 年 ...
成都来彰科技 蜀ICP备2025134723号-1
资讯来源互联网,如有版权问题请联系管理员删除。