机械结构设计要便于拆卸和维修图 例 说明

不合理

合理 改进后,箱壁上打2~4个工艺孔,轴承外圈拆卸方便

不合理

合理 改进后,轴承盖设计了工艺螺纹孔,可避免非正常拆卸
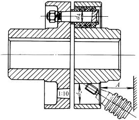
弹性柱销联轴器的柱销,在不移动其他零件的条件下,应能自由拆卸,尺寸A视拆装柱销而定

不合理

合理 改进后,增大了扳手空间,便于拆装 
不合理

合理 改进后,在件底部留有坡度,便于拆卸 
不合理

合理 改进后,结构上设计便于拆卸的钩槽;改进后,结构上设计起盖螺钉或拆卸受力点
消息,据官方社媒消息,火币 HTX 将于今日 20 时举办BTC 突破 78,000 美元之后:地缘降级+监管破...
2 Circle在Solana上新铸造5亿USDC消息,据吴说区块链发推称:Circle 在 Solana 区块链上新铸造了 5 亿枚 USDC 稳定币。...
3 MGBX将上线USD.AI(CHIP)、Genius(GENIUS)现消息,据官方消息,MGBX 将于 2026 年 4 月 22 日 18:00 上线 USD.AI、Genius现货交易。充值开放时间:...
4 比特币突破7.7万美元空头爆仓近4000万美元消息,据Coin Bureau发推称:比特币价格突破 7.7 万美元,过去一小时内近 4000 万美元空头头寸被...
5 谷歌正将内部AI编码工具整合至Antigravit消息,4 月 22 日,据 动察 Beating 监测,彭博社援引知情人士称,谷歌担心在 AI 编码工具市场落...
6 新加坡将优化加密资本监管:公链资产或消息,新加坡金管局已发布咨询文件拟在落实巴塞尔加密资产资本金新规之前为无许可区块链...
7 HIVE Digital完成1.15亿美元零息可转换票据融消息,加密挖矿和高性能计算托管的技术公司 HIVE Digital Technologies 宣布,其子公司已完成 1.1...
8 能源危机“发酵”霍尔木兹海峡受阻,全消息,贸易商警告称,霍尔木兹海峡运输受阻正加剧全球粮食危机风险。天然气价格上涨挤压...
9 中信建投:霍尔木兹扰动未完 油运上行逻消息,中信建投研报指出,霍尔木兹海峡局势反复,表明本轮事件对油运市场的影响正按三阶...
10 Cursor与SpaceX合作,旨在加速模型训练进程消息,4 月 22 日,Cursor宣布与SpaceX合作,以加速其模型训练进程。此前,该公司在不到六个月...
成都来彰科技 蜀ICP备2025134723号-1
资讯来源互联网,如有版权问题请联系管理员删除。