当前位置:主页 > 快讯 >

图解解析轮式车辆转向梯形结构的

时间:2020-12-19 19:49:20

  引言
轮式车辆一般都是依靠转向车轮偏转一个角度来实现转弯或曲线行驶。转向是的基本要求是保证所有车轮滚动而不发生滑动,这一要求通常由平面四杆机构来达到。传统的设计都采用图解转向梯形的方法。这种方法需要按经验数据选择机构的几何参数,然后作图校核该梯形机构在运动过程中转向轮的转角偏差是否大于允许偏差,若大于允许偏差,则重新选择或调整几何参数,再校核图,直至转角偏转小于允许偏差为止。这实际上是一种试凑的方法,带有较大的盲目性,工作量大。随着计算机的发展,解析法得到了较好的应用,但是传统的图解法仍有它直观、方便的优点,因此仍然被工程设计人员广泛采用。本文介绍一种简单高效且实用的图解解析设计法,可以大大减少作图校核的次数,提高工作效率。
转向理论特性
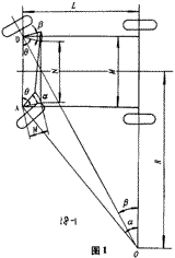
机动车辆或装卸搬运车辆的转向大多采用双轴线式转向方式,见图1。为了满足纯滚动条件,转向时所有车轮必须以不同的半径围绕同一转向中心滚动,各个车轮的轴线交于瞬时转向中心O点。虽然两个转向轮偏转的角度不同,但是两个转角之间应满足下列几何关系:
 

   ctg?-ctga=M/L(1)

  式中?-外轮转角a-内轮转角M-转向轴两主销中心距L-车辆前后轴轴距

   为了满足运动学上的这一几何关系,一般都是通过设计转向梯形机构来实现的。式(1)称为转向理论特性。
图解解析轮式车辆转向梯形结构的 转向梯形的图解设计及其转角误差
转向梯形四杆机构中,固定件长度(两主销中心距)M是由车辆总体设计给出的,两梯形臂长相等。因此只有两个独立变量有待确定,一个是连杆(横拉杆)长度,另一个是两摇杆(梯形臂)长度,这两个参数还可以转化为梯形底角O及梯形臂长m,见图1。
通常设计时,根据o和m值,用作图法作出所选机构在转向轮转角范围内(a<amax),内、外转角a和?的一组实际对应值,并将这组对应的转角(aI,?I)按图2所示作出实际特性曲线GE,与理论特性GF比较,得到转角的偏差值?。如两条特性接近,则*小于允许偏差,说明转向梯形几何参数合理;如果?大于允许偏差,则须重新选择梯形参数,重复作图。对于工程机械,amax=450,?不大于10~30。

热点推荐
1 尽管巨鲸斥资 420 万美元入场,Hyperliqui

Hyperliquid 的鲸鱼交易活动加剧,两大钱包投入超过 420 万美元,表明在整体下跌趋势中,鲸鱼依...

2 美国法官裁定康涅狄格州目前不能对Kal

12月10日消息,上周,美国康涅狄格州以预测市场平台Kalshi涉嫌开展无证赌博活动为由,向其发...

3 XRP旗舰指数获得机构投资者青睐

Bitwise Asset Management 已将 XRP 添加到其 Bitwise 10 加密指数基金 中。BITW 是纽约证券交易所 Arca 交...

4 随着《天才法案》(GENIUS Act)重塑美国加

随着美国监管机构准备实施《GENIUS法案》,对稳定币引入新的联邦监管,投资者在市场不确定...

5 Coinbase:市场动荡抑制投机,杠杆率稳定

消息,据ChainCatcher发推称:Coinbase Institutional 报告显示,11月市场动荡后,BTC、ETH、SOL永续合约...

6 易理华:ETH被严重低估,短期内不会再波

消息,Liquid Capital创始人易理华表示,ETH 在当前阶段被严重低估,其加密友好政策推进、降息...

7 Polymarket上预测「比特币今年再次涨至10万

消息,12 月 10 日,Polymarket 上预测「比特币今年再次涨至 10 万美元」概率暂报 40%。此外,预测...

8 Ark Invest 昨日增持 55,000 股比特币现货 E

消息,12月9日,据 Ark Invest Daily 监测,Ark Invest 旗下基金昨日增持 55,000 股比特币现货 ETF ARKB。...

9 盗用何一微信黑客相关地址赚取约5.5万美

消息,据 Lookonchain 监测,黑客入侵了币安高管何一的微信账号并发布与 Mubarakah 相关内容,随...

10 Rainbow将于12月11日在CoinList开启代币销售

消息,据 CoinList 官方公告,Rainbow代币销售将于 12 月 11 日 17:00 UTC 正式开启。此次代币销售 ...

成都来彰科技 蜀ICP备2025134723号-1

资讯来源互联网,如有版权问题请联系管理员删除。