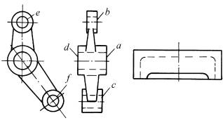
切削件结构设计:便于装夹
图 例 说明 
不合理 合理 改进后,圆柱面代替圆锥面,易于定位 
不合理

合理 改进后,增加了安装凸台,便于定位 
不合理

合理 改进后,平面a、b和c位于同一平面,增加了g、h安装凸台(钻孔e、f时脱落);改进后,箱体增加了安装凸缘和安装孔
比特币和以太坊价格持续窄幅波动,技术指标显示或将迎来最高达 40% 的价格变动。Bittensor 生...
2 美股盘前加密概念股普涨,CRCL上涨1.7%消息,根据数据,美股盘前加密概念股普涨,CRCL 上涨 1.7%;MSTR 上涨 0.14%;SBET 上涨 0.78%,AB...
3 OKX Ventures与HashKey Capital宣布投资越南新成OKX Ventures与HashKey Capital宣布投资越南新成立的加密资产交易所CAEX并达成战略合作。该交易所创...
4 Coinbase宣布对其开发的x402协议进行升级,消息,Coinbase宣布对其开发的x402协议进行升级,正式上线Upto机制。该机制将原有的固定费用模...
5 欧盟两年罚款科技巨头超70亿美元消息,据CNBC发推称:欧盟两年内对科技巨头罚款超70亿美元,特朗普政府对此表示不满。...
6 Uniswap创始人寻求接入Anthropic技术,拟测试消息,Uniswap 创始人 Hayden Adams 在社交平台发文询问是否有 Anthropic 相关资源对接,并表示希望...
7 Neutral Trade 更新:Neutral Strategy 策略金库完消息,ME News 消息,4 月 10 日,Solana 生态量化策略分享平台 Neutral Trade 发推表示,因 Drift 攻击...
8 比特币以太坊领涨,多数山寨币表现平平消息,据加密研究机构Santiment发推称:本周比特币、以太坊和Bittensor上涨,但多数山寨币表现...
9 Swing trader 0x4F51 5小时前清仓1000枚ETH,亏损消息,据链上分析平台Lookonchain发推称:交易员 0x4F51 五小时前以 222 万美元价格清仓其剩余的...
10 新钱包向HyperLiquid存入200万美元USDC并买入消息,据Onchain Lens发推称:四小时前,一个新创建的钱包向 HyperLiquid 存入 200 万美元 USDC,并以...
成都来彰科技 蜀ICP备2025134723号-1
资讯来源互联网,如有版权问题请联系管理员删除。